
INCH-POUND
MIL-DTL-52286/1C
18 May 2010
SUPERSEDING
MIL-C-52286/1B
10 July 1978
DETAIL SPECIFICATION SHEET
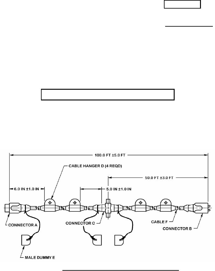
CABLE ASSEMBLY, POWER, ELECTRICAL, 2 CONDUCTOR,
100 FEET LONG, OVAL TERMINATIONS WITH 2-POLE CONNECTOR PLUG
Inactive for new design after 9 December 2003.
This specification is approved for use by all Departments and Agencies of the Department of
Defense.
The requirements for acquiring the product described herein shall consist of this specification
sheet and MIL-DTL-52286, "Cable Assemblies, Power, Electrical (with Molded on
Terminations)".
FIGURE 1. Cable assembly, power, electrical, 2-pole connectors.
AMSC N/A
FSC 6150
For Parts Inquires call Parts Hangar, Inc (727) 493-0744
© Copyright 2015 Integrated Publishing, Inc.
A Service Disabled Veteran Owned Small Business